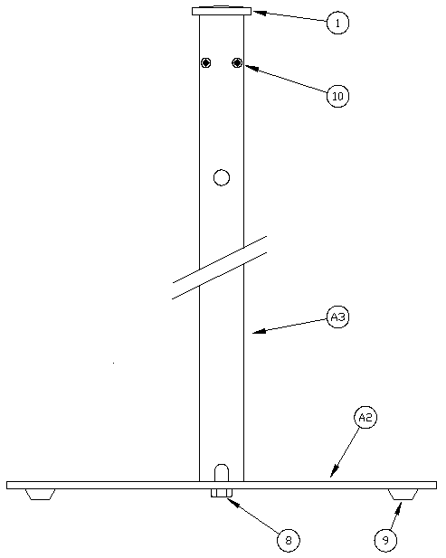
Model
344 Surgical Scrub Dispenser Floor Stand Assembly

| No. |
|
Quan. |
|
Description |
|
| A1 |
|
1 |
|
Model
344 Stand Assembly
|
| A2 |
|
1 |
|
Base
Assembly
|
| A3 |
|
1 |
|
Post
Assembly
|
| 1 |
|
1 |
|
Cap
|
| 8 |
|
1 |
|
Bolt
|
| 9 |
|
4 |
|
Feet
|
| 10 |
|
4 |
|
Screw
|
HIGHLAND
LABS, INC.
163 Woodland Street
Holliston, MA 01746
508-429-2918 Fax 508-429-6283